▷ DISEÑO DE UN SISTEMA DIGITAL RECEPTOR DE COMUNICACIÓN SERIAL EN #VHDL CON #FPGA #DE0_NANO
- ➡️ #DigitalSystems #DigitalElectronic #DigitalCircuits #HDL #VHDL #FPGA
- ⭐ https://github.com/vasanza/MSI-VHDL
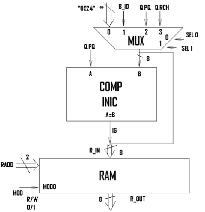
✅ Partición Funcional:
✅ Código #VHDL:
Leer temas relacionados:
- ✅ 2020 Paper: Behavioral Signal Processing with Machine Learning based on #FPGA
- ✅ 2020 Paper: Implementation of a Classification System of #EEG Signals Based on #FPGA
- ✅ 2020 Paper: Monitoring of system memory usage embedded in #FPGA
- ✅ 2019: Artificial Neural Network based #EMG recognition for gesture communication (#InnovateFPGA)
- ✅ Projects Digital Systems Design #FPGA
- ➡️ Example: Determinant of a matrix
- ➡️ Example: Numeric Sequence Detector
- ➡️ Example: Efficient Number Sequence Detector
- ➡️ Example: set operations
- ➡️ Example: communication and checksum validation
- ➡️ Example: Sum of Products Karnaugh Map
- ➡️ Example: Multiplying 3x4 matrix by 4x3 matrix
- ➡️ Example: Consecutive 1's Counter
- ➡️ Example: Numeric Sequence Counter
- ➡️ Example: Serial communication receiver
- ➡️ Example: billing system for telephone booths
- ➡️ Example: Temperature Conditioner
- ➡️ Example: Access control system (2)
- ➡️ Example: Access control system (1)












Comentarios
Publicar un comentario